Web Analytics Made Easy - Statcounter

Air Flo Spreader Wiring Diagram: Master Your Lawn Care Equipment Unveiling the inner workings of an air-flo salt spreader: a

If you are looking for Air-flo salt spreader parts visual guide you've visit to the right place. We have 25 Pics about Air-flo salt spreader parts visual guide like Air Flo Salt Spreader Wiring Diagram - Wiring Diagram, Aire Flo Wiring Diagram and also Air-flo salt spreader parts visual guide. Read more:

Air-flo Salt Spreader Parts Visual Guide

Air-flo salt spreader parts visual guide elecsprout.com

Air-flo Salt Spreader Parts Visual Guide

Air-flo salt spreader parts visual guide elecsprout.com

Air Flo Salt Spreader Wiring Diagram - Wiring Diagram

Air Flo Salt Spreader Wiring Diagram - Wiring Diagram wiringdiagram.2bitboer.com

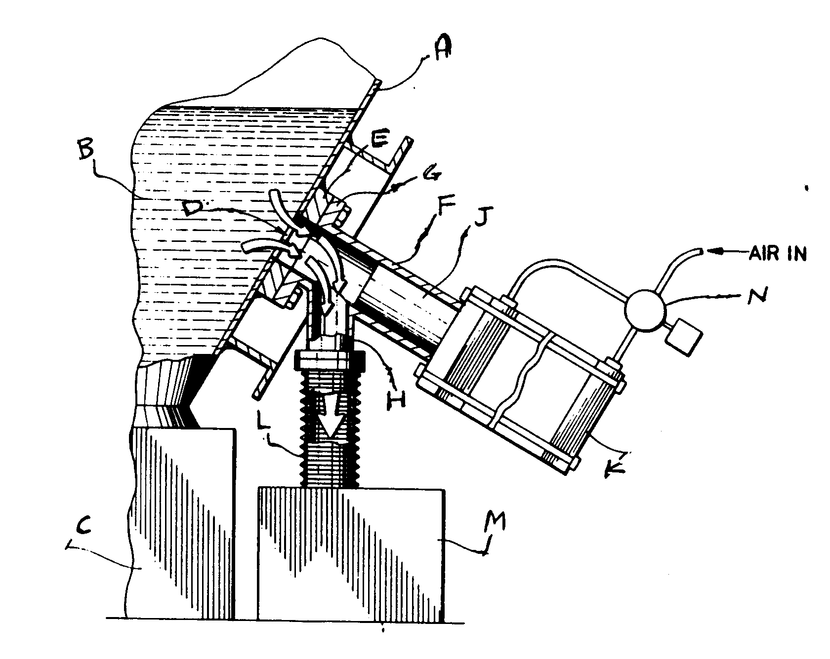
Unveiling The Inner Workings Of An Air-Flo Salt Spreader: A

Unveiling the Inner Workings of an Air-Flo Salt Spreader: A kdi-ppi.com

Air Flo Salt Spreader Wiring Diagram - Wiring Diagram

Air Flo Salt Spreader Wiring Diagram - Wiring Diagram wiringdiagram.2bitboer.com

32+ Air Flo Spreader Parts Diagram - CharaAnashima

32+ Air Flo Spreader Parts Diagram - CharaAnashima charaanashima.blogspot.com

32+ Air Flo Spreader Parts Diagram - CharaAnashima

32+ Air Flo Spreader Parts Diagram - CharaAnashima charaanashima.blogspot.com

Air-flo Salt Spreader Parts Visual Guide

Air-flo salt spreader parts visual guide elecsprout.com

Aire Flo Wiring Diagram

Aire Flo Wiring Diagram manualwiringutterest.z21.web.core.windows.net

32+ Air Flo Spreader Parts Diagram - AnessZacharia

32+ Air Flo Spreader Parts Diagram - AnessZacharia anesszacharia.blogspot.com

37+ Air Flo Salt Spreader Parts Diagram - TobyKashiya

37+ Air Flo Salt Spreader Parts Diagram - TobyKashiya tobykashiya.blogspot.com

Air Flo Salt Spreader Wiring Diagram - Wiring Diagram

Air Flo Salt Spreader Wiring Diagram - Wiring Diagram wiringdiagram.2bitboer.com

spreader flo western wiring

Air Flo Salt Spreader Parts Diagram Air-flo Salt Spreader Wi

Air Flo Salt Spreader Parts Diagram Air-flo Salt Spreader Wi daninojzf2guidefix.z13.web.core.windows.net

37+ Air Flo Salt Spreader Parts Diagram - TobyKashiya

37+ Air Flo Salt Spreader Parts Diagram - TobyKashiya tobykashiya.blogspot.com

32+ Air Flo Spreader Parts Diagram - CharaAnashima

32+ Air Flo Spreader Parts Diagram - CharaAnashima charaanashima.blogspot.com

32+ Air Flo Spreader Parts Diagram - AnessZacharia

32+ Air Flo Spreader Parts Diagram - AnessZacharia anesszacharia.blogspot.com

Unveiling The Inner Workings Of An Air-Flo Salt Spreader: A

Unveiling the Inner Workings of an Air-Flo Salt Spreader: A kdi-ppi.com

Air Flo Salt Spreader Wiring Diagram - Wiring Diagram

Air Flo Salt Spreader Wiring Diagram - Wiring Diagram wiringdiagram.2bitboer.com

Air Flo Salt Spreader Wiring Diagram - Wiring Diagram

Air Flo Salt Spreader Wiring Diagram - Wiring Diagram wiringdiagram.2bitboer.com

Air-flo Salt Spreader Parts Visual Guide

Air-flo salt spreader parts visual guide elecsprout.com

32+ Air Flo Spreader Parts Diagram - CharaAnashima

32+ Air Flo Spreader Parts Diagram - CharaAnashima charaanashima.blogspot.com

Unveiling The Inner Workings Of An Air-Flo Salt Spreader: A

Unveiling the Inner Workings of an Air-Flo Salt Spreader: A kdi-ppi.com

Air-flo Salt Spreader Parts Visual Guide

Air-flo salt spreader parts visual guide elecsprout.com

Air Flo Salt Spreader Wiring Diagram - Wiring Diagram

Air Flo Salt Spreader Wiring Diagram - Wiring Diagram wiringdiagram.2bitboer.com

Unveiling The Inner Workings Of An Air-Flo Salt Spreader: A

Unveiling the Inner Workings of an Air-Flo Salt Spreader: A kdi-ppi.com

37+ air flo salt spreader parts diagram. Air-flo salt spreader parts visual guide. Air flo salt spreader wiring diagram